据外媒报道,福特汽车公司获得了一项新型自动充电系统的专利。

该专利申请于2020年9月10日,于2022年9月13日公布,专利号为11440424。
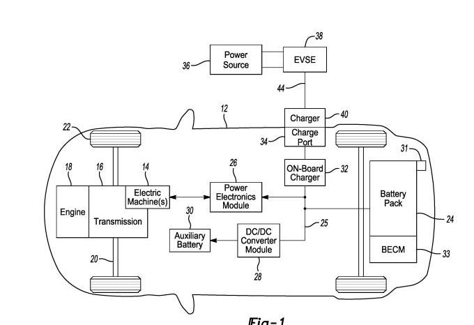
新专利概述了电动汽车自动充电系统的概念。该系统包括电源和连接到电源的充电单元。充电单元由储能装置和机器人耦合器组成,可以连接到汽车的充电端口。充电单元使用电源为车辆充电,储能装置可以独立地为机器人耦合器供电,而不管电源的充电状态如何。这些系统可以通过编程控制器自动工作,充电后可以自动解耦,无需驾驶员操作。据外媒报道,福特汽车公司获得了一项新型自动充电系统的专利。

该专利申请于2020年9月10日,于2022年9月13日公布,专利号为11440424。
新专利概述了电动汽车自动充电系统的概念。该系统包括电源和连接到电源的充电单元。充电单元由储能装置和机器人耦合器组成,可以连接到汽车的充电端口。充电单元使用电源为车辆充电,储能装置可以独立地为机器人耦合器供电,而不管电源的充电状态如何。这些系统可以通过编程控制器自动工作,充电后可以自动解耦,无需驾驶员操作。
9月21日,沃尔沃公布了下一代沃尔沃车型将搭载的全新技术,以及公布新一代沃尔沃纯电旗舰SUV的命名,EX90。沃尔沃汽车总裁兼首席执行官骆文襟JimRowan进行了分享。
1900/1/1 0:00:00近日,我们从蔚来官方获悉,NIOService迎来了焕新升级,其中包括全新设计的蔚来服务中心、第二代移动服务车、AR远程诊断技术应用、服务卫士系统应用以及洗悦服务上线等。
1900/1/1 0:00:009月20日,韩国媒体《每日经济新闻》和SBS电视台援引未透露姓名的汽车业消息人士的话报道称,起亚汽车预计将从2024年起在美国生产电动汽车。对此报道,起亚汽车未能立即置评。
1900/1/1 0:00:00汽车照明行业正处于演变中;LED(发光二极管)在高端车型中比传统灯泡(卤素灯和氙气灯HID)更受欢迎,因为它在功耗、使用寿命、光强度和尺寸方面具有优势。
1900/1/1 0:00:00盖世汽车讯据外媒报道,9月19日,福特汽车向投资者表示,由于通货膨胀和供应链问题,该公司预计第三季度将额外产生10亿美元成本。
1900/1/1 0:00:001、3099万元起,小鹏G9正式上市9月21日晚间,小鹏G9正式上市,共有6款车型,售价30994699万元,预计第四季度大规模交付。
1900/1/1 0:00:00