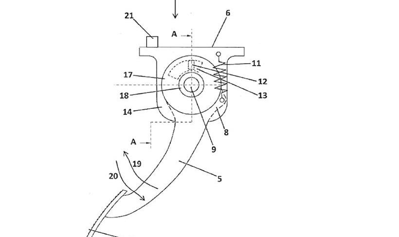
据外媒报道,汽车制造商宾利向USPTO申请了一项新专利:可调油门踏板总成,即用户可以通过油门踏板不同程度的阻力来更精确地控制汽车,从而获得更好的驾驶体验。

车主可以设置踏板增加力度,使其充当虚拟踏板,这在定速巡航设置中非常有用。这是因为左脚位置的踏板是固定的,所以右脚可以搁在踏板上。定速巡航启动后,踏板不会太灵敏,但在车主用力踩下时,仍能起到油门的作用。
1据外媒报道,汽车制造商宾利向USPTO申请了一项新专利:可调油门踏板总成,即用户可以通过油门踏板不同程度的阻力来更精确地控制汽车,从而获得更好的驾驶体验。

车主可以设置踏板增加力度,使其充当虚拟踏板,这在定速巡航设置中非常有用。这是因为左脚位置的踏板是固定的,所以右脚可以搁在踏板上。定速巡航启动后,踏板不会太灵敏,但在车主用力踩下时,仍能起到油门的作用。

标签:宾利
7月15日,猎豹汽车等6家企业合并重整第一次债权人会议正式召开,会上猎豹汽车重整管理人公布了《合并重整计划草案》,弘电新能源衡阳弘电新能源科技有限公司被确定为唯一重整投资人。
1900/1/1 0:00:00日前,我们从相关渠道了解到,NIODay2022城市申办申请已于7月17日22点准时截止,官方表示,收到了众多来自各城市提交的NIODay2022承办申请。
1900/1/1 0:00:00盖世汽车讯据外媒报道,麻省理工学院(MIT)计算机科学与人工智能实验室(CSAIL)的科学家们创建出数据驱动的仿真引擎“VISTA2
1900/1/1 0:00:00盖世汽车讯据外媒报道,大众集团新成立的电池业务PowerCo正努力克服供应链方面的阻力,以提高电池产量,并准备进行首次公开募股(IPO)。
1900/1/1 0:00:00盖世汽车讯据外媒报道,7月15日,一名推特用户在推特上询问特斯拉首席执行官马斯克,是否有计划降低因新冠疫情和供应链困境而提高的车辆价格。
1900/1/1 0:00:001、比亚迪携3款电动车进军日本市场,能否掀起日本车市新波澜7月21日,比亚迪官方正式宣布,继商用车之后,将要进军日本乘用车市场,据悉比亚迪决定从2023年1月开始,
1900/1/1 0:00:00