写作|亲爱的&编辑| Kai
这是@Boyfriend Finance的第1142篇原创文章
另一个“科技天才”电动汽车产品出现了。
10月8日,自如嘉汽车宣布自如嘉NV正式上市,有纯电动版和增程版。纯电动标准版和远程版的售价分别为27.88万元和31.88万元,而增程版的售价为28.88万元。

然而,新车一上市就遇到了理想汽车创始人李想的“疑问”:这远不如L6,为什么要和L7相比?
从出生起,我就一直走“黑红”路线。这个自由奔放的NV到底是什么起源?

01
也许一些亲密的朋友对子优家相当陌生,但你应该听说过它的创始人李一男或小牛电动汽车。在武术界,李一男身上有两个突出的标签:“科技幽灵”和“华为王储”。1970年出生于湖南,15岁时被华中科技大学青年班录取;26岁时,他成为华为执行副总裁。也许这就是父母眼中的别人的孩子。
打开李一男的百科全书,也是红色和黑色交织在一起。高光离开华为背后的讨论并不多;2017年,李一男也因涉嫌内幕交易罪受审,最终被判处有期徒刑两年零六个月,并处罚金750万元。
红色方面更多。首先,港口网络成立于2000年;2008年,他担任百度首席技术官;2010年,中国移动12580首席执行官;无限寻奇首席执行官;金沙江创投2011年合伙人;
接下来,牛电科技创始人

李一南最近一站是火星石科技,前身是江苏牛创新能源科技有限公司,有限公司,最近才更名。
此前,在2021 12月,牛创新能源发布了“紫油佳”品牌,英文名称为“NIUTRON”,其首个产品名为“紫油嘉NV”。早在2018年,牛创新能源的汽车制造项目就已经实际开工。

近日,纽创能源官方声明表示,为了避免用户对“NIUTRON”、“Ziyoujia”品牌与纽创能量的关系产生混淆,公司已正式更名为“火星石科技有限公司”,“纽创能”的名称在任何情况下都不会使用。这种解释让咪咪觉得自己的关系变得更加混乱了。。。哈哈。
综上所述,我们知道李一男在新能源汽车领域已经工作了4年,最近推出了他的第一辆汽车,将从2022年12月开始逐步交付。
02
从价格区间可以看出,自动驾驶家居NV走的是中高端路线,官方对它的定位更高——豪华中大型城市探索SUV。

它有多豪华?从官方宣传中,米妹看到了一些关键词,如iAWD智能双电机四轮驱动系统、高效永磁同步电机、5.9秒的“零到100”加速时间、7种驾驶模式可随时切换、最小离地间隙为200mm且底盘透明、用于车内应用的NIUTRON OS车载系统、CarPlay双系统并行
什么样的城市探索方法?子优家官网没有详细说明,但提供了一个粗略的场景:每个人都可以在城市通勤、周末全家短途旅行和长途城际旅行中轻松切换驾驶体验和应对场景,探索自然。然而,从其功能配置来看,它确实相当多样化。
但理想是充实的,现实往往更骨感。哪家公司总是在产品发布时承诺,但在交付后翻车的例子并不少见。交付后的最终演示是否更有说服力。

目前肉眼可见的情况是,新能源汽车的中高端市场越来越受欢迎,这对新玩家“自优家NV”来说并不是一个好消息。
以9月份为例,市场上已经有几款类似的新车。例如,售价25.98万元的文杰M5、30.99万元的小鹏G9、同样售价在30万元左右的非凡R7,以及前面提到的售价近34万元的理想L7。
从产品角度来看,米妹的感觉是,子游NV似乎什么都有,但似乎没有什么亮点。如果你买单,可能很大一部分原因是李一男吗?但最终,我们仍然要依靠产品来说话,我们对此充满期待。

03
与许多新势力一样,子优家NV没有自己的工厂,而是由其合作伙伴的独家生产线生产:大成汽车常州金坛智能工厂。
大成汽车是目前汽车行业的热门品牌。大成汽车股份有限公司有限公司成立于2014年12月1日,法定代表人吴晓。他是众泰汽车(000980)前董事长吴建忠的儿子,他的常州生产基地也来自众泰汽车。大成汽车是一家混合动力转型企业,其历史可以追溯到1969年的南昌汽车厂。
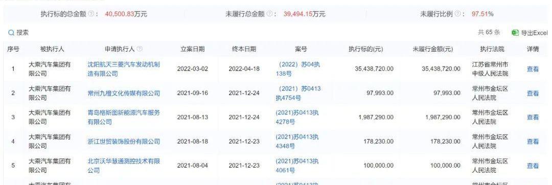
据《企业警示》报道,大成汽车集团有限公司近三年来共有三起不诚实被告记录,涉及400多起司法案件。本案未决案件比例为97.51%,且无财产可供执行,足以说明其潜在财务状况。

图片来源|企业警报
事实上,大成汽车旗下的五款车型已经因无法满足“国六”排放规定而被暂停使用。自从乞讨……
2020年,大成汽车被曝出连续数月拖欠员工工资,甚至出差垫付的个人费用也长期无法报销。
据财新网报道,一位知情人士告诉财新网,“被起诉只是冰山一角,公司面临的债务可能近百亿元。但公司的资产和债务基本匹配。江西和常州工厂今年已经复工复产,整体债务有望逐步化解和消除。”。
这么小的年纪就衰落了,大成汽车在短短几年内的起起落落,也是新手汽车制造商的一个教训。现在我们又回到了江湖,与“新手”自助游一起,我们会在新能源汽车的红海中创造一个新天地吗?
本文首发于微信公众号:BFF。文章内容属于作者个人观点,不代表和讯网络的立场。投资者应据此操作,并承担风险。
随着车市传统销售旺季“金九银十”的到来,国内车市逐渐热闹了起来。近日,国内多家主流汽车集团相继公布9月销量数据,部分汽车集团表现颇为亮眼。
1900/1/1 0:00:00淡季旅游市场房车游并不冷淡。10月11日,北京商报记者调查发现,近期有商家透露,11月房车游在短短5小时内预售了超1000单。同时随着天气逐渐转凉,旅游商家们的目光也从露营转向了房车租赁。
1900/1/1 0:00:00抢滩柏林,目标欧洲。
1900/1/1 0:00:00财联社10月11日讯当地时间周二,日产汽车宣布,将正式退出俄罗斯市场,并计入源于出售旗下当地部门的约6862亿美元损失。
1900/1/1 0:00:00“刚入行的时候没有想到过,这个行业在十年后的今天能有这般光景。”某动力电池企业中层人士宋浩感叹道。
1900/1/1 0:00:00前不久保时捷的菜刀引发热议,这不法拉利的风衣也来了。14日,话题法拉利在中国卖风衣售价445万登上微博热搜。
1900/1/1 0:00:00