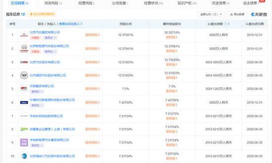
新浪科技讯:8月3日下午,根据天涯茶应用程序,近日,有限公司进行了工商变更,新增了中国电子科技投资控股有限公司有限公司、北汽福田汽车(600166,股票吧)有限公司有限公司、鹤岗集团有限公司等新股东。同时,公司注册资本从1.6亿元增加到约4亿元,增长约150%。

有限公司成立于2017年11月,法定代表人连庆峰。其业务范围包括工程技术研究和实验开发;产品设计和工业设计服务;电气设备、汽车、电子产品等销售根据股东信息,公司目前由多家公司共同持有,包括北京汽车集团有限公司、有限公司、宁德时代(300750股)新能源科技有限公司有限公司、北京亦庄国际投资发展有限公司。


新京报贝壳财经讯继小鹏汽车后,理想汽车也将于港交所上市。7月26日,港交所网站显示,理想汽车通过港交所上市聆讯。业内人士分析,如一切正常,理想汽车或将在8月底左右正式在港上市。
1900/1/1 0:00:00盖世汽车讯8月3日,德国汽车制造商宝马集团正式公布其二季度以及上半年财务业绩。
1900/1/1 0:00:00财联社讯,美东时间周一,德国飞行汽车初始公司Lilium表示,该公司拟与巴西最大航空公司蔚蓝航空公司达成价值10亿美元的商业协议和战略联盟,其中包括220架飞机订单。
1900/1/1 0:00:007月30日,全球最大电池储能项目之一,采用特斯拉Megapack系统的澳大利亚“维多利亚大电池”储能项目发生火灾。事故并未造成人员伤亡,特斯拉首席执行官马斯克在事故发生后发推称“普罗米修斯解放了。
1900/1/1 0:00:00前不久,全新的速腾公布了谍照。作为一个A级车市场的老将。速腾此次的升级还是比较有诚意的。我们先简单看看它升级了什么,首先,外观做了一些细微的调整。
1900/1/1 0:00:008月3日消息,据国外媒体报道,在特斯拉呼吁政府削减税收几周后,印度政府一位副部长周一表示,没有削减电动汽车进口关税的计划。
1900/1/1 0:00:00