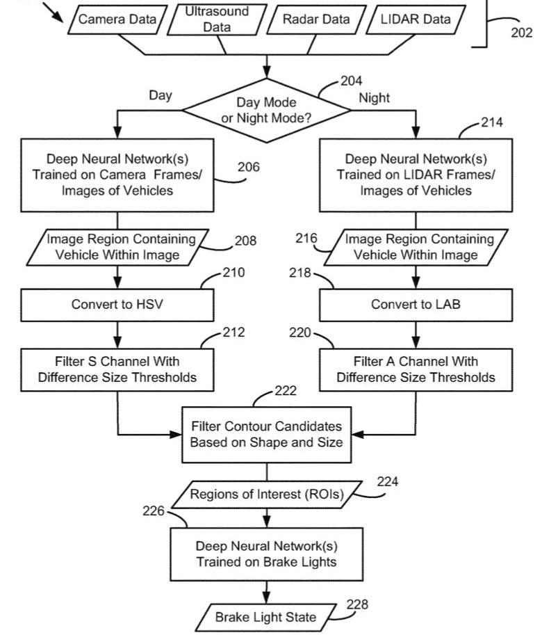
据外媒报道,福特汽车公司已经向美国专利商标局(USPTO)申请了刹车灯检测系统的新专利。

最近几个月,福特申请了一系列与安全相关的专利,包括一个用于对抗太阳眩光的增强现实系统、一个车辆逆行检测系统、一个分心驾驶检测系统、一个轮胎压力损失检测和报警系统以及一个身体部位损失检测系统。福特的新专利延续了这一趋势,并概述了一种刹车灯检测系统,这可能有助于避免轻微的交通事故。据外媒报道,福特汽车公司已经向美国专利商标局(USPTO)申请了刹车灯检测系统的新专利。

最近几个月,福特申请了一系列与安全相关的专利,包括一个用于对抗太阳眩光的增强现实系统、一个车辆逆行检测系统、一个分心驾驶检测系统、一个轮胎压力损失检测和报警系统以及一个身体部位损失检测系统。福特的新专利延续了这一趋势,并概述了一种刹车灯检测系统,这可能有助于避免轻微的交通事故。
标签:福特
7月21日,福特发布动力电池新增产能计划,锁定电池上游原材料供应,稳步推进2023年60万辆、2026年200万辆电动汽车增长目标。
1900/1/1 0:00:007月21日,首批1000辆MGMULAN在上海海通码头集结,正式运往欧洲。在欧洲将会以MG4命名,并在今年第四季度首发。
1900/1/1 0:00:00盖世汽车讯据外媒报道,日本半导体和MEMS产品开发公司YITOAMicroTechnologyCorporation宣布开发出第二代汽车激光雷达MEMS振镜IC:CG0006AR,
1900/1/1 0:00:007月21日,比亚迪股份有限公司(以下简称比亚迪)日本分公司(BYDJAPAN株式会社)在东京召开品牌发布会,继商用车之后宣布正式进入日本乘用车市场,并亮相元PLUS、海豚和海豹三款车型。
1900/1/1 0:00:00车端目前产生大量的数据之中,各种数据来自于不同的传感器、不同的域,自动驾驶域控制器基本已经实现了算力超过百T的资源配置,这就催生了车端数据库的需求。
1900/1/1 0:00:00今年以来,新能源汽车市场实现快速增长。上半年,我国新能源汽车产销均突破260万辆,同比均增长12倍,市场渗透率达216。
1900/1/1 0:00:00