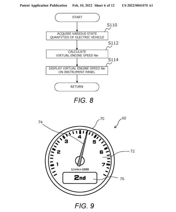
最近,丰田公司的一项全新专利被曝光。有趣的是,该专利旨在在电动汽车上模拟汽油动力汽车独有的手动换档模式,以增加电动汽车的驾驶乐趣。电动汽车和手动变速器似乎是不兼容的组合,但丰田有不同的想法。目前,丰田已经在美国申请了8套专利,表明它将为未来的电动汽车提供模拟手动变速器。这些专利首次出现在BZ论坛上,丰田于2021提交了申请,涉及各种技术,包括模拟离合器踏板、模拟换档以及模拟驾驶传统手动内燃机车辆的扭矩流中断方法。

以下是其中一项专利的声明描述:“电动汽车包括一个变速杆和离合器踏板,以模拟手动变速器模型…驾驶员通过操纵变速杆从多个模拟档位中选择档位…系统将计算和模拟启动发动机的相应功率,并可显示虚拟发动机转速

该专利表明,配备该系统的丰田将提供三种不同的模式,一种需要驾驶员同时使用离合器和变速杆,而另一种不需要使用离合器,而第三种模式不需要同时使用离合器或变速杆。丰田认为,在停车、倒车或交通堵塞时,离合器可能非常有用。在第三种模式下,这些动作将由系统自动处理,因此汽车将像自动变速箱燃油车,而不是传统的固定比例电动汽车。

标签:丰田
近日,吉利旗下新能源品牌几何申报了一款全新小型纯电动SUV,从尾部曝光的字样来看,新车有望被命名为“霹雳虎”。
1900/1/1 0:00:00美国总统拜登周二首次承认了特斯拉作为美国最大电动汽车制造商的地位,在一次促进美国企业扩大美国电动汽车基础设施的演讲中提到了马斯克的这家公司,
1900/1/1 0:00:00财联社讯,随着加拿大卡车司机对强制疫苗令的抗疫活动从首都渥太华蔓延至全国,
1900/1/1 0:00:002月8日消息,据报道,有两名特斯拉员工透露的信息,和美国当地媒体曝光的公司内部通信记录显示:为了应对芯片供应短缺和实现第四季度交付目标,
1900/1/1 0:00:00近日,网络上曝光了一则让人生气的视频。
1900/1/1 0:00:00盖世汽车讯与传统电池相比,固态电池具有更高的能量潜力且更安全,是推动电动汽车发展的关键。
1900/1/1 0:00:00