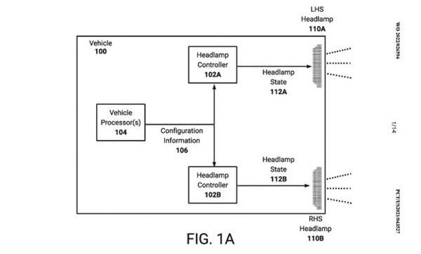
最近,特斯拉的全球前照灯专利已经公布,它可以满足不同国家和司法管辖区的需求,同时也降低了特斯拉生产不同类型前照灯的成本。据了解,特斯拉已经设想了一种系统,可以通过单独的适用软件自动调整大灯,以满足不同司法管辖区的需求。


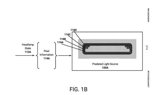
众所周知,汽车分为两种类型:左舵驾驶和右舵驾驶,而这些国家对汽车光束的要求相反,这意味着汽车制造商需要为其配备不同规格的前照灯,以满足当地的道路要求。设计不同规格的前照灯会增加生产成本。因此,特斯拉设想使用软件来控制光束的传播、前照灯的功率和范围,以遵守当地法规。特斯拉声称,他们的专利可以只使用计算机软件来模拟光束,使用前照灯控制器和LED矩阵来生成所需的光束,而不是反射器的几何形状。

对于特斯拉用户来说,从一个国家到另一个国家使用该系统时,大灯将自动适应当地要求,不会因照明不达标而被拒绝进入。当然,为了实现这一功能,特斯拉需要建立一个满足当地需求的数据库,同时还要配合触发车辆GPS位置变化的功能。不得不说,为了降低成本,特斯拉真的是竭尽所能。不知道奥迪作为“灯厂”,在这款大灯量产安装后会有什么感受。

盖世汽车讯与传统电池相比,固态电池具有更高的能量潜力且更安全,是推动电动汽车发展的关键。
1900/1/1 0:00:002021年全球新能源车型累计销量近650万辆,较去年同期增长108。而特斯拉Model3全年销量超过50万辆,其连续四年成为最畅销的纯电车型。
1900/1/1 0:00:00中国小康网2月9日讯老马现代和起亚告诉美国近50万辆汽车车主,将车停在建筑物外并远离建筑物。因为汽车可能存在缺陷,即使车辆在不运行时也会自发着火。
1900/1/1 0:00:00近日,奇瑞官方发布了QQ系列第二款电动车型的预告图,新车将延续QQ冰淇淋的定位,为一台微型纯电动车。
1900/1/1 0:00:002020年5月,五菱发布全新银标品牌,同年11月,银标首款旗舰车型五菱凯捷正式上市,凭借8581168万元的极具性价比价格、大空间,受到诸多消费者好评。
1900/1/1 0:00:00财联社讯,当地时间周二盘前,哈雷戴维森披露四季报及全年财报,随着业绩显著超越华尔街预期,公司盘前涨逾7。
1900/1/1 0:00:00