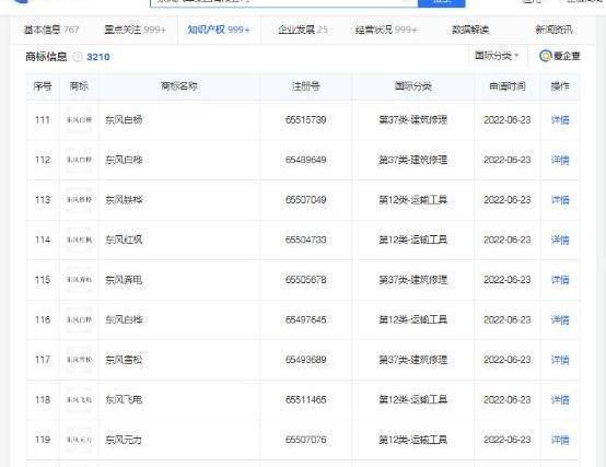
据iQiCha App报道,近日,东风汽车集团有限公司已申请注册与24节气相关的商标,包括“东风利东”、“东风雨水”、“东风利多”、“东方大汉”和“东风春分”。国际分类包括09级-科学仪器,37级-建造和维修,以及12级-运输车辆。目前,商标的进展显示在注册申请中。


值得一提的是,据爱奇茶App显示,东风汽车此前已申请注册一批与工厂名称相关的商标。国际分类包括第37类-建筑维修,第12类-运输车辆等。目前,商标的注册进度显示为正在注册。


标签:东风
传统燃油车时代,大家习惯以轴距、排量、内饰配置等对汽车进行分级,以舒适性、驾驶性、安全性等对车辆进行评价。随着智能电动汽车的诞生和发展,用户需求和评价体系也随之变化。
1900/1/1 0:00:002022年9月6日,全新黑科技旗舰王者华为Mate50系列正式发布,领势而上,尽显创新本色。华为Mate系列因创新而生,始终以领先科技革新用户体验,不断探索科技创新的新高度,成为高端旗舰手机的代名词。
1900/1/1 0:00:00新一代信息技术与制造业正在加速融合,数字化转型成为产业发展的主旋律。作为高度综合的行业,汽车产业是国家工业实力的体现之一,数字化转型尤为迫切。工业互联网作为核心支撑,是驱动汽车产业数字化的关键力量。
1900/1/1 0:00:00沉寂许久的爱驰可谓“不鸣则已,一鸣惊人”,喜提“2022年中全球独角兽”荣誉,并在汽车行业引起关注与讨论。
1900/1/1 0:00:009月5日四维图新与毫末智行签署战略合作协议双方将建立长期、稳定、快速的合作交流机制为联合开发新业务、拓展新市场构建良好平台未来在更多领域实现互利互惠共赢发展。
1900/1/1 0:00:00以全球灯塔品质,为创投梦想全擎加速9月7日,由创业邦主办的2022DEMOCHINA创新中国峰会在“太湖明珠”无锡拉开帷幕。
1900/1/1 0:00:00