据外媒报道,福特汽车公司为其加热挡风玻璃摄像头的观察区域申请了专利。

图片来源:美国专利商标局
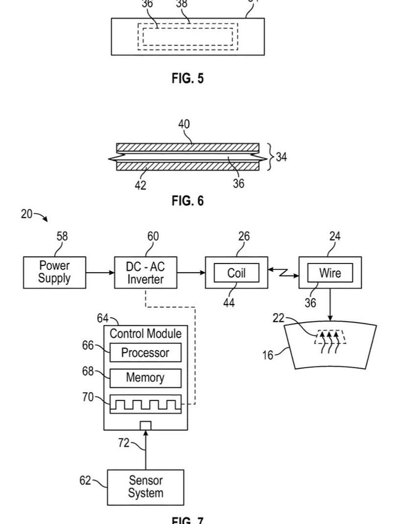
在过去的几个月里,福特提交了多项与加热元件相关的专利,包括带有多个加热器的加热方向盘、加热侧窗系统、加热挡风玻璃雨刮片和增强型防雾窗系统。现在,福特提出了挡风玻璃加热系统的想法,对挡风玻璃摄像头的观察区域进行感应加热,是对上述专利的进一步补充。
根据专利摘要,新专利系统将采用两种加热元件,即嵌入挡风玻璃热塑性层的感应加热元件和安装在挡风玻璃层和摄像头支架之间的另一种感应加热元件。这两个元件可以通过无线连接相互通信,然后加热挡风玻璃的摄像头观察区域。

图片来源:美国专利商标局
这个系统的目的相当简单明了,就是让摄像机观察区域没有雪、冰、雾。许多现代车辆将在挡风玻璃上安装摄像头以供查看,以及依赖于清晰图像的驾驶辅助和安全功能。冷凝会对这些功能的运行产生负面影响,这种特殊的加热区可以防止冷凝。
随着越来越多的摄像头和驾驶辅助功能应用到新车上,该专利可能会在未来真正得到应用。
2据外媒报道,福特汽车公司为其加热挡风玻璃摄像头的观察区域申请了专利。

图片来源:美国专利商标局
在过去的几个月里,福特提交了多项与加热元件相关的专利,包括带有多个加热器的加热方向盘、加热侧窗系统、加热挡风玻璃雨刮片和增强型防雾窗系统。现在,福特提出了挡风玻璃加热系统的想法,对挡风玻璃摄像头的观察区域进行感应加热,是对上述专利的进一步补充。
根据专利摘要,新专利系统将采用两种加热元件,即嵌入挡风玻璃热塑性层的感应加热元件和安装在挡风玻璃层和摄像头支架之间的另一种感应加热元件。这两个元件可以通过无线连接相互通信,然后加热挡风玻璃的摄像头观察区域。

图片来源:美国专利商标局
这个系统的目的相当简单明了,就是让摄像机观察区域没有雪、冰、雾。许多现代车辆将在挡风玻璃上安装摄像头以供查看,以及依赖于清晰图像的驾驶辅助和安全功能。冷凝会对这些功能的运行产生负面影响,这种特殊的加热区可以防止冷凝。
随着越来越多的摄像头和驾驶辅助功能应用到新车上,该专利可能会在未来真正得到应用。
盖世汽车讯据外媒报道,受新车供应不足和供应链问题的影响,许多汽车制造商的5月美国汽车销量均出现了下滑。
1900/1/1 0:00:001、北京奔驰EQE将于6月16日亮相,缩小版EQS来了6月8日,小编从奔驰官网得到消息,北京奔驰全新纯电动轿车EQE有望在6月16日正式亮相,并于年内正式上市。
1900/1/1 0:00:00分享合创Z03工厂广乘杭州公司成为业内实现双品牌(广汽传祺以及合创汽车)运营6月6日,合创启杭Z03在广乘杭州公司正式下线。
1900/1/1 0:00:00盖世汽车讯据外媒报道,大陆集团(Continental)开发了一种新型优质汽车内饰表面材料BenovaEcoProtect,更加环保、耐用和舒适。
1900/1/1 0:00:00当前新能源市场确实成为中国车市的重要马车,无论是势头上的闪光点,还是销量层面的助力,把握住新能源机会,成为每家汽车公司的重要任务。
1900/1/1 0:00:00日前,华为千人研发团队常驻重庆,深入参与长安阿维塔产品的智能驾驶、智能座舱、应用系统开发,引发业界关注。在打造阿维塔品牌上,华为将提供全栈智能驾驶解决方案。
1900/1/1 0:00:00