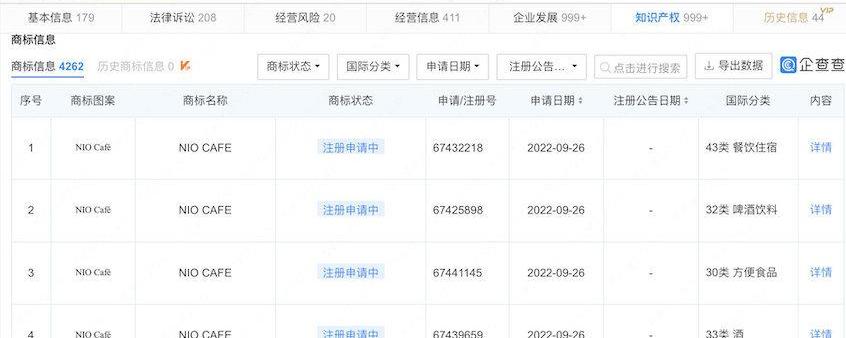
近日,据相关媒体报道,有限公司申请注册四个“NIOCAFE”商标,这些商标在国际上被归类为餐饮、啤酒和饮料等。目前,该商标状态正在申请注册中。

作为国内新能源汽车制造的生力军,蔚来向许多人展示了新能源汽车市场的未来。而这次,我选择了跨界咖啡行业,这也很可能是着眼于咖啡行业未来的发展前景。据相关数据显示,2022年,中国新注册咖啡相关企业1.9万家,同比增长26.6%。据美团数据显示,2021中国咖啡行业市场规模达到89.7亿元,而2023年市场规模将继续增长至157.9亿元。不难看出,未来国内咖啡行业将迎来一个蓬勃发展的时期。


编辑观点:将生活方式与出行相结合是当前车企常见的营销手段,而新能源汽车仍是蔚来发展的主线。未来,蔚来咖啡可能会对标星巴克等咖啡连锁品牌,走高端路线。更多与NIOCAFF相关的事宜仍需蔚来官方公布。精彩回顾:李斌完成蔚来ET7在欧洲的远程测试,进军欧洲。蔚来累计建设1145座替代电站,并将继续努力。蔚来9月交付10878辆,同比增长2.35%
笔记
拼音 双语对照
近日,据海外媒体报道,特斯拉首席执行官埃隆马斯克和社交媒体公司推特将于10月17日开始在特拉华州对簿公堂,以解决马斯克试图取消对推特的收购,除非他们在10月17日之前就此事达成和解。
1900/1/1 0:00:00近日,有海外媒体公布了一组保时捷718参数询价SpyderRS的谍照。
1900/1/1 0:00:00近日,有海外媒体曝光了一组斯柯达Kamiq的谍照。Kamiq在国内被称为柯米克参数询价,谍照中出现的新车应该是它的中期改款车型。预计新车将在明年下半年在海外率先上市。
1900/1/1 0:00:00近日,据海外媒体公布,继德国明确表示不会同意“到2035年禁止在欧盟境内销售燃油车”的计划之后,意大利、葡萄牙、斯洛伐克、保加利亚和罗马尼亚五国也相继呼吁延迟5年时间来执行这一计划。
1900/1/1 0:00:00近日,有海外媒体公布了一组疑似全新纯电动大众途观正进行测试的照片。照片中的测试车依然采用现款途观的车身,但从封闭式的前脸、被加高的侧裙以及消失的排气管等细节能够看出,这是一台纯电动车型。
1900/1/1 0:00:00近日,有海外媒体公布了几张新款阿尔法罗密欧Giulia参数询价的谍照。
1900/1/1 0:00:00